6.7 尺寸公差
6.7.1 门扇高度H
采用钢卷尺测量,测量位置为距门扇两竖边各50 mm处,见图1所示的A-A和A′-A′位置。检测值与产品设计图示门扇高度值相减,结果取其极值。
图1 门扇高度测量位置示意图
6.7.2 门扇宽度W
采用钢卷尺测量,测量位置为距门扇上两横边各50 mm处,见图2所示的B-B和B′-B′位置。检测值与产品设计图示门扇宽度值相减,结果取其极值。
采用游标卡尺测量,测量位置见图3中T1、 T 2 、 T 3 …… T 8 所标定的位置[注:遇锁具、合页(铰链)处相应避开50 mm],检测值与产品设计图示门扇厚度值相减,结果取其极值。
图3 门扇厚度测量位置示意图
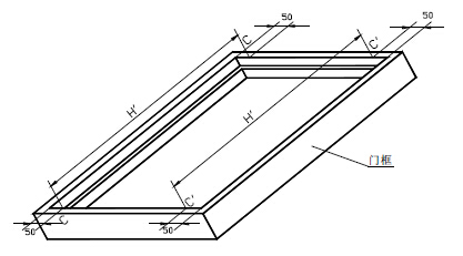
6.7.4 门框内裁口高度H′
采用钢卷尺测量,分别测量门框内裁口的左竖边和右竖边,见图4所示C-C、C′-C′。检测值与产品设计图示门框内裁口高度值相减,结果取其极值。
图4 门框内裁口高度测量位置示意图
6.7.5 门框内裁口宽度W′
采用钢卷尺测量,测量位置见图5所示的D- D 、 D ′- D ′、 D ″- D ″。检测值与产品设计图示门框内裁口宽度值相减,结果取其极值。
图5 门框内裁口宽度测量位置示意图
6.7.6 门框侧壁宽度T′
采用游标卡尺测量,测量位置见图6所示的T1′、T2′、T3′……T6′。检测值与产品设计图示门框侧壁宽度值相减,结果取其极值。
图6 门框侧壁宽度测量位置示意图
采用钢卷尺测量,测量位置为距门扇两竖边各50 mm处,见图1所示的A-A和A′-A′位置。检测值与产品设计图示门扇高度值相减,结果取其极值。
图1 门扇高度测量位置示意图
采用钢卷尺测量,测量位置为距门扇上两横边各50 mm处,见图2所示的B-B和B′-B′位置。检测值与产品设计图示门扇宽度值相减,结果取其极值。
图2 门扇宽度测量位置示意图
6.7.3 门扇厚度T采用游标卡尺测量,测量位置见图3中T1、 T 2 、 T 3 …… T 8 所标定的位置[注:遇锁具、合页(铰链)处相应避开50 mm],检测值与产品设计图示门扇厚度值相减,结果取其极值。
图3 门扇厚度测量位置示意图
采用钢卷尺测量,分别测量门框内裁口的左竖边和右竖边,见图4所示C-C、C′-C′。检测值与产品设计图示门框内裁口高度值相减,结果取其极值。
图4 门框内裁口高度测量位置示意图
采用钢卷尺测量,测量位置见图5所示的D- D 、 D ′- D ′、 D ″- D ″。检测值与产品设计图示门框内裁口宽度值相减,结果取其极值。
图5 门框内裁口宽度测量位置示意图
6.7.6 门框侧壁宽度T′
采用游标卡尺测量,测量位置见图6所示的T1′、T2′、T3′……T6′。检测值与产品设计图示门框侧壁宽度值相减,结果取其极值。
图6 门框侧壁宽度测量位置示意图