5.5 断路器、避雷器
5.5.1 断路器和避雷器的下列部位,应进行抗震验算:
1 断路器或避雷器的根部瓷件;
2 有绝缘拉杆的避雷器在绝缘拉杆上面一节瓷件的根部。
5.5.2 安装在地面上的断路器和避雷器的基本自振周期计算应符合下列要求:
1 断路器和无绝缘拉杆的避雷器的基本自振周期,可按下列公式计算:

式中:T——设备的基本周期(s);
m——设备的总质量,包括所有装置及油的质量(kg);
H——设备的总高(m);
E——瓷件材料的弹性模量(Pa),可取75×109Pa;
β——考虑节点等因素的刚度折减系数,断路器可取0.2;避雷器可取0.22;
I——瓷件根部的截面惯性矩(m4);
D、d——瓷瓶的外径与内径(m)。
2 有绝缘拉杆避雷器的基本自振周期,应按下式计算:

5.5.3 安装在地面上的断路器及避雷器的地震作用和地震弯矩计算应符合下列要求:
1 无绝缘拉杆的避雷器及断路器的地震作用及计算截面的弯矩,应按下列公式计算:

式中:F——无绝缘拉杆的避雷器及断路器所受地震作用(N);
M——计算断面的弯矩(N·m);
α——地震影响系数,按本标准第5.1.2条确定;
h——计算断面距离设备根部的高度(m)。
2 有绝缘拉杆避雷器的水平地震作用和计算截面的弯矩应符合下列要求:
1)有绝缘拉杆避雷器的水平地震作用,应按下式计算:

2)当计算断面距离h不小于(5/8)H时,拉杆与避雷器连接部位的弯矩,应按下式计算:

3)当计算断面距离h小于(5/8)H,大于等于0时,拉杆与避雷器连接部位以下的弯矩,应按下式计算:

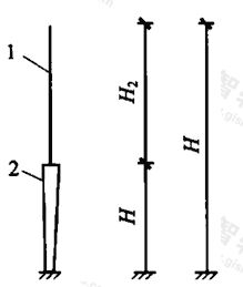
5.5.4 安装在支座上的断路器、避雷器(图5.5.4)的基本自振周期,应按下列公式计算:

图5.5.4 安装在支座上的设备计算示意
1-设备;2-支座

式中:m'——体系的等效质量(kg),可取设备的总质量(包括所有装置和油的质量)和支座质量的1/3之和;
K——体系的侧移刚度(N/m);
λ1——侧移刚度折减系数,断路器可取0.19;避雷器可取0.22;
E1——支座材料弹性模量(Pa);
I1、I2——支座截面、瓷件截面的惯性矩(m4);
H1、H2——支座高度(算到杯口)、设备高度(m)。
5.5.5 安装在支座上的断路器和避雷器计算截面上的弯矩,应按下式计算:

5.5.6 断路器及避雷器的抗震验算,应满足下列公式要求:

式中:σ——设备计算断面的应力(Pa);
W——计算断面的截面模量(m3);
D、d——瓷瓶的外径与内径(m);
[σ]——验算部位材料的许用应力设计值(Pa);常温下瓷件材料可取11.2×106Pa,C25混凝土支座可取18×106Pa;
k——不均衡系数,可取1.5。
条文说明
5.5 断路器、避雷器
5.5.1 断路器及避雷器都为悬臂结构,根据震害调查和实型试验分析,危险断面都发生在根部,所以需对瓷件根部截面进行验算。
有些避雷器有绝缘拉杆(如220kV避雷器),根据震害分析和内力计算发现,在绝缘拉杆上面一节瓷瓶根部的内力较大,所以需对该截面(见图5.5.1中1-1截面)进行抗震验算。
根据以前对500kV避雷器的振动台试验、分析结果,当瓷件最大应力达到14×106Pa时,底部瓷瓶的法兰连接螺栓的最大应力只达到56×105Pa,远小于螺栓的许用应力,地震时一般不会在此产生破坏,所以此条只要求对瓷件的应力进行抗震验算。

图1 220kV避雷器示意
5.5.2 断路器及无绝缘拉杆的避雷器的计算模型取为质量均匀分布的连续杆。这是因为断路器及避雷器基本上为一连续介质且无明显突加质量的悬臂结构。
由于断路器、避雷器为多节瓷瓶由螺栓连接而成,节点间为弱性连接,使实测刚度比计算刚度小。根据设备在振动台的试验结果,选用了刚度折减系数β来反映这一因素。根据试验分析结果,对断路器选用β=0.2;对避雷器选用β=0.22。有绝缘拉杆的避雷器,可利用Ragleigh-Ritz法求其上限解(频率偏高、周期偏低,故安全)。
- 上一节:5.4 三相垂直布置电抗器
- 下一节:附录A 电气设备减震措施