3.4 系统选型与设置
3.4.1 建筑屋面雨水系统类型及适用场所可按表3.4.1的规定确定。
表3.4.1 建筑屋面雨水系统类型及适用场所


3.4.2 建筑屋面雨水系统应根据屋面形态进行选择。屋面雨水斗排水系统的设计流态,应根据排水安全、经济性、建筑竖向空间要求等因素综合比较确定。
3.4.3 高层建筑的裙房屋面的雨水应自成系统排放。
3.4.4 半有压屋面雨水系统宜采用87型雨水斗或性能类似的雨水斗,压力流屋面雨水系统应采用专用雨水斗。
3.4.5 民用建筑雨水内排水应采用密闭系统,不得在建筑内或阳台上开口,且不得在室内设非密闭检查井。
3.4.6 严寒地区宜采用内排水系统。当寒冷地区采用外排水系统时,雨水排水管道不宜设置在建筑北侧。
3.4.7 无特殊要求的工业厂房,雨水管道宜为明装。民用建筑中的雨水立管宜沿墙、柱明装,有隐蔽要求时,可暗装于管井内,并应留有检查口。
3.4.8 雨水管道敷设应符合下列规定:
1 不得敷设在遇水会引起燃烧、爆炸的原料、产品和设备的上面及住宅套内;
2 不得敷设在精密机械、设备、遇水会产生危害的产品及原料的上空,否则应采取预防措施;
3 不得敷设在对生产工艺或卫生有特殊要求的生产厂房内,以及食品和贵重商品仓库、通风小室、电气机房和电梯机房内;
4 不宜穿过沉降缝、伸缩缝、变形缝、烟道和风道,当雨水管道需穿过沉降缝、伸缩缝和变形缝时,应采取相应技术措施;
5 当埋地敷设时,不得布置在可能受重物压坏处或穿越生产设备基础;
6 塑料雨水排水管道不得布置在工业厂房的高温作业区。
3.4.9 塑料排水管道穿墙、楼板或有防火要求的部位时,应按国家现行有关标准的规定设置防火措施。
3.4.10 雨水斗位置应根据屋面汇水结构承载、管道敷设等因素确定,雨水斗的设置应符合下列规定:
1 雨水斗的汇水面积应与其排水能力相适应;
2 雨水斗位置应根据屋面汇水结构承载、管道敷设等因素确定;
3 在不能以伸缩缝或沉降缝为屋面雨水分水线时,应在缝的两侧分设雨水斗;
4 雨水斗应设于汇水面的最低处,且应水平安装;
5 雨水斗不宜布置在集水沟的转弯处;
6 严寒和寒冷地区雨水斗宜设在冬季易受室内温度影响的位置,否则宜选用带融雪装置的雨水斗。
3.4.11 绿化屋面的雨水斗可设置在雨水收集沟内或雨水收集井内。
3.4.12 一个汇水区域内雨水斗不宜少于2个,雨水立管不宜少于2根。
3.4.13 雨水立管的底部弯管处应设支墩或采取固定措施。
3.4.14 高层建筑雨水管排水至散水或裙房屋面时,应采取防冲刷措施。当大于100m的高层建筑的排水管排水至室外时,应将水排至室外检查井,并应采取消声措施。
3.4.15 当雨水横管和立管直线长度的伸缩量超过25mm时,应采取伸缩补偿措施。
3.4.16 雨水管道的连接应符合下列规定:
1 管道的交汇处应做顺水连接。当压力流系统的连接管接入悬吊管时,可按局部阻力平衡需求确定连接方式;
2 悬吊管与立管、立管与排出管的连接弯头宜采用2个45°弯头,不应使用内径直角的90°弯头;
3 连接管与悬吊管的连接应采用45°三通。
3.4.17 设雨水斗的屋面雨水排水管道系统应能承受正压和负压,正压承受能力不应小于工程验收灌水高度产生的静水压力,塑料管的负压承受能力不应小于80kPa。
3.4.18 建筑屋面雨水排水系统管材选用宜符合下列规定:
1 采用雨水斗的屋面雨水排水管道宜采用涂塑钢管、镀锌钢管、不锈钢管和承压塑料管,多层建筑外排水系统可采用排水铸铁管、非承压排水塑料管;
2 高度超过250m的雨水立管,雨水管材及配件承压能力可取2.5MPa;
3 阳台雨水管道宜采用排水塑料管或排水铸铁管,檐沟排水管道和承雨斗排水管道可采用排水管材;
4 同一系统的管材和管件宜采用相同的材质。
3.4.19 当建筑屋面雨水斗系统采用涂塑钢管时,应符合下列规定:
1 涂塑钢管应符合现行行业标准《给水涂塑复合钢管》CJ/T 120的有关规定;
2 虹吸系统负压区除外的涂塑钢管连接可采用沟槽或法兰连接方式。当采用法兰连接时,应对法兰焊缝作防腐处理。
3.4.20 当建筑屋面雨水斗系统采用镀锌钢管时,应符合下列规定:
1 镀锌钢管应符合现行国家标准《低压流体输送用焊接钢管》GB/T 3091的有关规定;
2 虹吸系统负压区除外的镀锌钢管连接应采用丝扣或沟槽连接方式。
3.4.21 当建筑屋面雨水斗系统采用不锈钢管时,应符合下列规定:
1 不锈钢管应符合现行国家标准《流体输送用不锈钢焊接钢管》GB/T 12771的有关规定;
2 不锈钢管最小壁厚应符合表3.4.21的规定;
3 不锈钢管应采用耐腐蚀性能牌号不低于S30408的材料;
4 管道宜采用沟槽式连接或对接氩弧焊连接方式;
5 当采用对接氩弧焊连接时,应有惰性气体保护。
表3.4.21 不锈钢管最小壁厚

3.4.22 当建筑屋面雨水斗系统采用高密度聚乙烯(HDPE)管时,应符合下列规定:
1 高密度聚乙烯(HDPE)管及管件应符合现行行业标准《建筑排水用高密度聚乙烯(HDPE)管材及管件》CJ/T 250的有关规定;
2 管材的规格不应低于S12.5管系列;
3 管道应采用对接焊连接、电熔管箍连接方式;
4 检查口管件可采用法兰连接方式。
3.4.3 采用排水铸铁管、排水塑料管时,管材及管件应符合国家现行有关标准的规定。
条文说明
3.4 系统选型与设置
3.4.2 排水安全包括屋面少积水、少溢流等,造价经济指系统的费用低。在建筑竖向空间允许时,应优先选用既安全、又经济的雨水系统。
3.4.4 条文中的专用雨水斗目前主要指虹吸雨水斗。
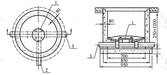
3.4.5 本条为强制性条文。条文中的非密闭检查井是指管道在检查井中开口并敞开,比如常规的污废水检查井。密闭检查井如图3所示,其中管道上的检查口用螺丝紧固,能承受管内的水压。
屋面雨水管道系统在运行中遇到较大的降雨时会产生压力,在室内或阳台上开口会发生水患,我国已有很多这方面的经验教训。
当内排水系统向室内雨水利用收集池排水时,其设计方法应执行国家标准《建筑与小区雨水利用工程技术规范》GB 50400的规定。

图3 密闭检查井示意
1—螺栓盖板;2—排出管;3—埋地管
3.4.8 此条第1款引自国家标准《建筑给水排水设计规范》GB 50015-2003(2009年版)3.5.8条和4.3.5条,国家标准《住宅建筑规范》GB 50368-2005中8.1.4条。
3.4.9 国家现行有关标准为:《建筑给水排水设计规范》GB 50015、《高层民用建筑设计防火规范》GB 50045等。防火措施包括阻火圈、防火胶带或防火套管等。
3.4.12 条文中一个汇水区域指在溢流水位时,雨水连通的区域。
3.4.14 散水面上的防冲刷一般采用混凝土浇筑水簸箕或水槽,雨水排入其内。超过100m的超高层建筑排入室外检查井可采取的消能措施为:采用钢筋混凝土检查井和格栅井盖,井盖与井座之间卡固在一起,使雨水不至于把井盖掀开,并通过格栅溢流至地面。
3.4.15 计算伸缩量时,内排水系统管道温差可取管道施工安装时的温度和运行时室内温度之间的差值,或取冬季排水温度和室内温度的差值。
3.4.18 高度超过250m的雨水管道系统,其承压能力限定在2.5MPa,主要考虑以下因素:第一,管道被污物堵塞时积水高度如果达到250m,堵塞物会被该水压冲走或冲开;第二,雨水管道采用的给排水配件,市场上能采购到的一般为2.5MPa公称压力及以内。
第3款中的排水管材指重力无压流排水管材,如生活排水管道等。
3.4.22 对于选用HDPE管材时,其承压一般考虑不超过0.5MPa。
3.4.23 国家现行有关标准有:《排水用柔性接口铸铁管、管件及附件》GB/T 12772、《建筑排水用柔性接口承插式铸铁管及管件》CJ/T 178(或《建筑排水用卡箍式铸铁管及管件》CJ/T 177),《建筑排水用硬聚氯乙烯(PVC-U)管材》GB/T 5836.1和《建筑排水用硬聚氯乙烯(PVC-U)管件》GB/T 5836.2等。
- 上一节:3.3 雨水径流计算
- 下一节:4 屋面集水沟设计