13.4 构造规定
13.4.1 钢丝绳网的设计与制作应符合下列规定:
1 网片应采用小直径不松散的高强度钢丝绳制作;绳的直径宜为2.5mm~4.5mm;当采用航空用高强度钢丝绳时,可使用规格为2.4mm的高强度钢丝绳。
2 绳的结构形式(图13.4.1-1)应为6×7+IWS金属股芯右交互捻钢丝绳或1×19单股左捻钢丝绳。
图13.4.1-1 钢丝绳的结构形式
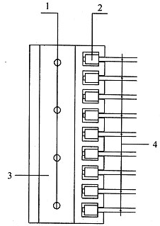
3 网的主筋(即纵向受力钢丝绳)与横向筋(即横向钢丝绳,也称箍筋)的交点处,应采用同品种钢材制作的绳扣束紧;主筋的端部应采用固定结固定在固定板上;固定板以胶粘型锚栓锚于原结构上,胶粘型锚栓的材质和型号的选用,应经计算确定。预张紧钢丝绳网片的固定构造应按图13.4.1-2进行设计;当钢丝绳采用锥形锚头紧固时,其端部固定板构造应按图13.4.1-3进行设计。
图13.4.1-2 采用固定结紧固钢丝绳的端头锚固构造
1—胶粘型锚栓;2—固定结;3—固定板;4—钢丝绳
4 网中受拉主筋的间距应经计算确定,但不应小于20mm,也不应大于40mm。
5 网中横向筋的间距,当用作梁、柱承受剪力的箍筋时,应经计算确定,但不应大于50mm;当用作构造箍筋时,梁、柱不应大于150mm;板和墙,可按实际情况取为150mm~200mm。
6 网片应在工厂使用专门的机械和工艺制作。板和墙加固用的网,宜按标准规格成批生产;梁和柱加固用的围套网,宜按设计图纸专门生产。

图13.4.1-3 采用锥形锚头紧固钢丝绳的端部锚固构造
1—锚栓或植筋;2—Pm调节螺母;3—Pm调节螺杆;4—穿绳孔;
5—角钢固定板;6—张拉端角钢锚固;7—锥形锚头;8—钢丝绳
5—角钢固定板;6—张拉端角钢锚固;7—锥形锚头;8—钢丝绳
13.4.2 采用钢丝绳网-聚合物砂浆面层加固钢筋混凝土构件前,应先清理、修补原构件,并按产品使用说明书的规定进行界面处理;当原构件钢筋有锈蚀现象时,应对外露的钢筋进行除锈及阻锈处理;当原构件钢筋经检测认为已处于“有锈蚀可能”的状态,但混凝土保护层尚未开裂时,宜采用喷涂型阻锈剂进行处理。
13.4.3 钢丝绳网与基材混凝土的固定,应在网片就位并张拉绷紧的情况下进行。一般情况下,应采用尼龙锚栓或胶粘螺杆植入混凝土中作为支点,以开口销作为绳卡与网连接。锚栓或螺杆的长度不应小于55mm;其直径d不应小于4.0mm;净埋深不应小于40mm;间距不应大于150mm。构件端部固定套环用的锚栓,其净埋深不应小于60mm。
13.4.4 当钢丝绳网的主筋需要接长时,应采取可靠锚固措施保证预张紧应力不受损失(图13.4.4),且不应位于最大弯矩区。
图13.4.4 主绳连接锚固构造示意图
1—固定结或锥形锚头;2—钢丝绳;3—连接型固定板
1—固定结或锥形锚头;2—钢丝绳;3—连接型固定板
13.4.5 聚合物砂浆面层的厚度,不应小于25mm,也不宜大于35mm;当采用镀锌钢丝绳时,其保护层厚度尚不应小于15mm。
13.4.6 聚合物砂浆面层的表面应喷涂一层与该品种砂浆相适配的防护材料,提高面层耐环境因素作用的能力。
条文说明
13.4 构造规定
13.4.1 本条的1、2两款是参照国家标准GB 8918-2006、GB/T 9944-2002以及行业标准YB/T 5196-2005和YB/T 5197-2005制定的。其余各款是参照国内高等院校及有关公司和科研单位的试用经验制定的。
13.4.2~13.4.5 这四条也是对国内工程经验的总结,可供设计单位参照使用。
13.4.6 对粘结在混凝土表面的聚合物改性砂浆面层,其面上之所以还要喷抹一层防护材料(一般为配套使用的乳浆),是因为整个面层只有30mm厚;其防渗性能还需要加强,其所掺加的聚合物也需要防止日光照射。倘若使用的是镀锌钢丝绳,该防护材料还应具有阻锈的作用。
- 上一节:13.3 受弯构件斜截面加固计算
- 下一节:14 绕丝加固法