10.5 轴测图
10.5.1 房屋建筑的轴测图(图10.5.1-1),宜采用正等测投影并用简化轴伸缩系数绘制。

图10.5.1-1 正等测的画法
10.5.2 轴测图的可见轮廓线宜用中实线绘制,断面轮廓线宜用粗实线绘制。不可见轮廓线一般不绘出,必要时,可用细虚线绘出所需部分。
10.5.3 轴测图的断面上应画出其材料图例线,图例线应按其断面所在坐标面的轴测方向绘制。如以45°斜线为材料图例线时,应按图10.5.3的规定绘制。

图10.5.3 轴测图断面图例线画法
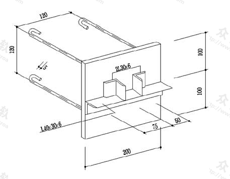
10.5.4 轴测图线性尺寸,应标注在各自所在的坐标面内,尺寸线应与被注长度平行,尺寸界线应平行于相应的轴测轴,尺寸数字的方向应平行于尺寸线,如出现字头向下倾斜时,应将尺寸线断开,在尺寸线断开处水平方向注写尺寸数字。轴测图的尺寸起止符号宜用小圆点(图10.5.4)。

图10.5.4 轴测图线性尺寸的标注方法
10.5.5 轴测图中的圆径尺寸,应标注在圆所在的坐标面内;尺寸线与尺寸界线应分别平行于各自的轴测轴。圆弧半径和小圆直径尺寸也可引出标注,但尺寸数字应注写在平行于轴测轴的引出线上(图10.5.5)。

图10.5.5 轴测图圆直径标注方法
10.5.6 轴测图的角度尺寸,应标注在该角所在的坐标面内,尺寸线应画成相应的椭圆弧或圆弧。尺寸数字应水平方向注写(图10.5.6)。

图10.5.6 轴测图角度的标注方法
条文说明
10.5 轴测图
10.5.1 2001版中对于6种典型轴测绘图方法的规定,是基于手工绘图工具和手工绘图方法情况的绘图规范,在计算机辅助建筑设计成为绝对主流的状况下,除正等测之外的其余5种轴测几乎没有应用的必要。①计算机绘图原理:CAD在“视图”工具中给出两种轴测显示的工具“三维视图”与“三维动态观察器”,前者可以得到4个角度的正等测轴测,后者可以得到任何角度的轴测,而尺寸标注不受观察角度影响。②中国在县以下不设正规建筑设计机构,中国对甲乙丙丁各级设计机构的资质要求,使得计算机辅助建筑设计在设计机构的覆盖率接近100%。③在建筑工程设计中,使用轴测图的情况不多,即使用于个别效果图和复杂节点的表示,绝大多数用正等测就已经能清楚地表达设计意图和正确地传递设计信息。