薄型双栓室内消火栓箱


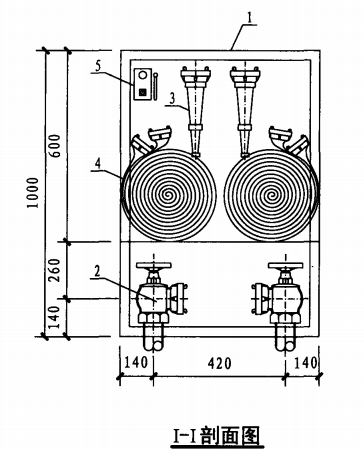
薄型双栓室内消火栓箱(I-I剖面图) 薄型双栓室内消火栓箱(II-II剖面图)
薄型双栓室内消火栓箱(平面图)

主要器材表
主要器材表
说明
1. 消火栓、水枪具体型号、规格由设计确定。
2. 消火栓箱型号·SG16(18)(20)B65-JS。
3. 薄型栓箱箱体厚度160、 180、 200mm,由设计人员根据 暗装栓箱留洞位置处墙体厚度确定。
4. 消防按钮是否设置由设计确定。
5. 消火栓箱安装见本图集第55~58页。

目录导航