单栓带应急照明配消防软管卷盘消火栓箱


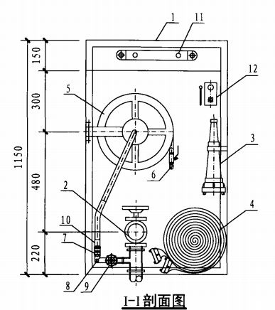
单栓带应急照明配消防软管卷盘消火栓箱(I-I剖面图) 单栓带应急照明配消防软管卷盘消火栓箱(II-II剖面图)
单栓带应急照明配消防软管卷盘消火栓箱(平面图)

主要器材表
主要器材表
说明:
1. 消火栓、水枪具体型号、规格由设计确定。
2. 消防按钮是否设置由设计确定,
3. 消防软管内径不小于φ19,长度宜为30m。
4. 消防软管卷盘用阀门与卷盘配套供应。
5. 消火栓箱安装见本图集第55~58页。
6. 消火栓箱型号:SG24B65Z-JY。
7. 应急照明灯的接线端子图详见第35页。
8. 栓箱内设有微动开关,箱门开启时应急照明灯应被点亮。
9. 消火栓进水管如需要布置在底部右侧,箱内配置及箱门开 启方向应同时做对称调整。

目录导航